V našem podjetju konstruiramo in izdelujemo industrijska orodja do velikosti cca. 800 x 600 mm in mase 1500 kg.
Orodja izdelujemo iz visoko kakovostnih jekel priznanih dobaviteljev. Dolgoletne izkušnje imamo z izdelavo zahtevnih orodij za brizganje plastike to so predvsem orodja z vpadnimi jedri, različnimi sistemi stranskih pogonov, odvijalnimi sistemi, različnimi dolivnimi sistemi…
Največ izdelujemo:
- Orodja za brizganje plastike
- Orodja za tlačni liv
- Popravilo in predelava orodij
- Storitve 3 in 5 osnega CNC rezkanja, CNC struženja, ploskovnega brušenja …
Ostala ponudba
Poleg orodjarskih storitev ponujamo tudi hokejske pake in navijalce jader.
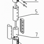
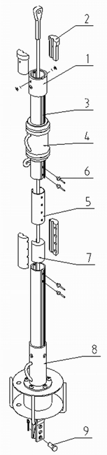
Navijalci jader
Smo edini v Sloveniji, ki proizvajamo sisteme za navijanje prednjih jader. Navijalce izdelujemo že od leta 1987 primerni pa so za jadrnice dolžin 4-11m.
V teh letih se lahko pohvalimo z veliko zadovoljnimi strankami, ki so svojo jadrnico opremili z našim navijalcem.
Navijalci so izdelani iz kvalitetnega kislinsko odpornega nerjavečega jekla, profilna cev pa iz eloksiranega aluminija, kar našemu izdelku zagotavlja dolgo življenjsko dobo.
Hokejski paki
V svoj proizvod smo vključili tudi pak za hokej na rolerjih.
Po kakšnih lastnostih prepoznamo Orodel roler hokej pak?
Naš pak je narejen za hitro in profesionalno igranje hokeja na rolerjih. Izdelan je iz kvalitetnega materiala, ki je odporen na obrabo in udarce. Namenjen je tako za igro na zunanjih, kot na notranjih igriščih. Zaradi svoje oblike je zelo stabilen in ravno prave teže, kar zagotavlja hitro in kvalitetno igro. Potrudili smo se tudi pri izbiri barve in pak obarvali z vidno barvo, kar je pri roler hokeju zelo pomembno.
Cena
Orodel hokej roler 1 pak = 5,00 €
V ceno ni vštet DDV.





